-
【调剂意向采集今日启动!】紧急避坑指南+保姆级操作流程
-
2026年研招调剂意向采集系统今日(3月27日)正式开通! 考生可登录研招网填写最多10个调剂意向,为4月8日开放的调剂服务系统抢占先机。但操作不当可能直接导致调剂失败!小编结合官方政策与历年踩坑案例,整理出这份“避坑+操作”双攻略**,助你稳稳上岸!

考研调剂是上岸的关键机会,操作流程一定要清楚!以下是优化后的考研调剂三步走及避坑提示:
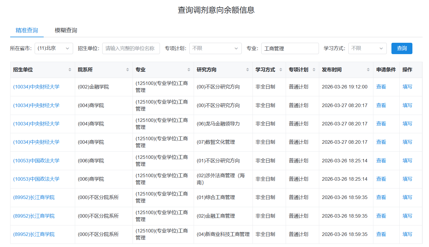
Step 1:查询调剂意向余额
登录研招网,进入意向采集系统,根据自己的专业和初试成绩筛选符合条件的院校。这一步是整个调剂流程的开端,只有找到合适的院校,后续的操作才有意义。在筛选院校时,要仔细对照《2025年对调剂考生的基本要求》,确保调入专业学科门类和初试科目与目标院校相匹配,否则志愿将无效。
Step 2:填写10个平行意向
按优先级排序填报,建议前3个志愿填报冲刺院校,后7个志愿填报保底院校。这一步是整个调剂流程的关键,志愿填报的合理性和准确性将直接影响调剂结果。在填写志愿前,一定要先确认院校的联系方式和缺额真实性,可以通过电话核实等方式进行确认。因为一旦提交志愿,将无法修改。
Step 3:4月8日转3个志愿
系统开通24小时内,从10个平行意向中选择最匹配的3个意向转为正式志愿。这一步是整个调剂流程的最后一步,也是决定成败的一步。志愿锁定时间不超过36小时,在锁定期间无法更改。所以,在选择正式志愿时,要优先选择反馈快、解锁时间短的院校,以增加调剂成功的概率。
调剂意向采集系统使用流程

考生3月28日起,可进入调剂意向采集系统,了解招生单位发布的调剂意向余额情况,做好调剂准备。

在允许填写调剂意向的时间内,一位考生最多可填写10个平行调剂意向,且提交后不可取消或更改。

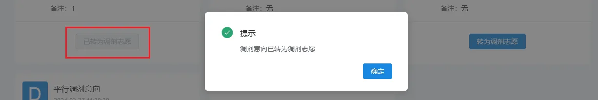
调剂服务系统开通24小时内,在满足条件的前提下,考生可将调剂意向转为调剂服务系统中的调剂志愿(最多只能转3个)。

已转成功的调剂志愿与直接在调剂服务系统填报的调剂志愿一样,在招生单位设置的锁定时间内不可取消或更改;未转成功的调剂意向在调剂服务系统中无效。

转为调剂志愿后,页面下方会显示“已转为调剂志愿”,招生单位可以在调剂服务系统后台查询到相应的志愿信息。

注:截图仅供参考,实际操作以系统为准。
调剂系统注意事项
√调剂系统支持填报三个志愿,提交后的志愿在招生单位设定的时间(不超过36小时)内不可修改。填报时,请留意各院校的锁定时间,多数学校为36小时,也有部分为24小时或12小时。每个志愿单独计时,锁定时间结束后,可继续填报其他志愿。因此,建议同学们尽早填报,每隔12小时填报一个,错峰填报,以加快审核速度,尽快解锁,确保每日都有新的名额可用于填报其他院校。
√若身边同学已收到填报学校的复试通知,而你仍未收到,请及时向招生办老师电话咨询相关情况或请求解锁志愿。
√若想提前解锁某院校,可从填报的三个学校中选择意向最低的,致电研招办老师请求解锁。但请注意,沟通时应先了解老师当前的进度,判断自己是否有机会进入该校复试,若无机会再请求解锁。若有望进入复试,则考虑其他学校。
√建议分层次填报调剂志愿。第一志愿填报最心仪的学校,第二志愿选择层次稍低、较稳定的学校。第三志愿可稍后填报,前两个志愿锁定期间,若有新的调剂信息或变动,可使用第三志愿的名额。
√院校发布的调剂信息至少保留12小时,即在此期间内均可填报。但12小时后,学校有权撤掉调剂信息,因此请每日及时查看最新调剂信息。
√在调剂前,建议主动联系招生单位或导师,通过院校官网获取导师邮箱,发送简历进行联系。部分老师可能会回复名额已满或更偏好某种条件的考生。
√一般而言,只要专业课考试科目相同或相近,即可进行调剂,初试内容不必完全相同。学硕的同学也可关注专硕专业的调剂名额。
√调剂的同学可能面临准备多所院校复试的情况,每所学校的复试内容不尽相同。建议优先准备:
(1)复试通用性内容,如英语口语问答、自我介绍等;
(2)专业相关常识内容,如调剂方向为心理健康教育,则需深入了解该领域的高频问答。
√不要局限于所报考的专业,例如MPA,在院校无特别限制的情况下,可能会招收其他专业的考生,比如调剂到MBA。
√建议查找去年的调剂名单或录取名单,了解往年的最低分数,与当前成绩进行对比。若差异较小,可考虑填报该院校。
√对于一志愿复试未通过的同学,建议优先考虑校内调剂。
√若全日制确实难以找到接收的学校,可考虑非全日制研究生。许多学校都有非全日制研究生的名额,其调剂难度可能相对全日制研究生简单一些。
特别提醒:
1.在选择调剂院校时,请务必考虑清楚,一旦拟录取,你是否愿意接受。若明确不愿接受,则一开始就不要考虑该院校,将时间和精力集中在其他心仪的学校上。
2.建议关注学信网公众号,并绑定个人信息,以便接收调剂信息的自动推送,避免错过重要消息。
3.务必查看目标院校的具体调剂要求,不同院校的要求可能有所不同。选择与自己匹配度高的学校,对于要求过于细致的学校,建议慎重选择。
4.请仔细阅读调剂院校的复试时间,尤其是今年大部分采用线下面试的情况下,需要考虑来回赶路的时间,时间冲突的建议不要报考。
5.建议在调剂系统开通后,每隔1-2小时上线确认消息。因为有些学校可能比较急,复试确认时间较短,以免错过重要通知。
6.虽然去年调剂新规定指出,学生超过时间未确认复试需打电话确认,但为防万一,还是建议多上线。
-
推荐阅读

